Description of InfraShield®

InfraShield® is a novel system, comprising:
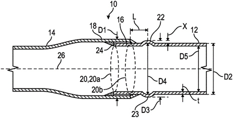
• a first pipe comprising a main body having a first diameter and a pipe spigot end portion, the first pipe comprising a first pipe wall thickness, the first pipe comprising a metallic material, and the pipe spigot end portion of the first pipe comprising a single layer of metallic material; and
• a second pipe comprising a main body having the first diameter and a pipe bell end portion having a second diameter that is greater than the first diameter, the pipe bell end portion being configured to receive the pipe spigot end portion of the first pipe, the second pipe comprising a metallic material and the pipe bell end portion of the second pipe comprising a single layer of metallic material;
• wherein the first pipe comprises an outwardly-extending, buckle-inducing deformation that is formed in the pipe spigot end portion and spaced apart from an end of the pipe spigot end portion of the first pipe such that when the first pipe is welded to the second pipe, the buckle-inducing deformation is offset from the weld between the first pipe and the second pipe and offset from the pipe bell end portion of the second pipe; and
• wherein a crest height of the buckle-inducing deformation is 50% to 500% of the first pipe wall thickness;
• wherein a contour of the buckle-inducing deformation is curved from a crest of the buckle-inducing deformation to a portion of the main body of the first pipe having the first diameter;
• wherein the pipe bell end portion of the second pipe transitions from the second diameter to the first diameter and is free of a buckle-inducing deformation, and the first diameter continues along the main body of the second pipe away from the pipe bell end portion of the second pipe; and
• wherein the buckle-inducing deformation is spaced from the end of the pipe spigot end portion of the first pipe by 2 inches to 10 inches along the first pipe.